live chat

Kaolin processing plant

Home > Application > Kaolin processing plant
 

Kaolin

Kaolin is a mixture of different minerals. Its main component is kaolinite; in addition, it frequently contains quartz, mica, feldspar, illite, and montmorillonite. Kaolinite is made up of tiny sheets of triclinic crystals with pseudohexagonal morphology. It is formed by rock weathering. It has some cation exchange capacity. The main components of common clay and shale are illite and chlorite.

 

Kaolin processing

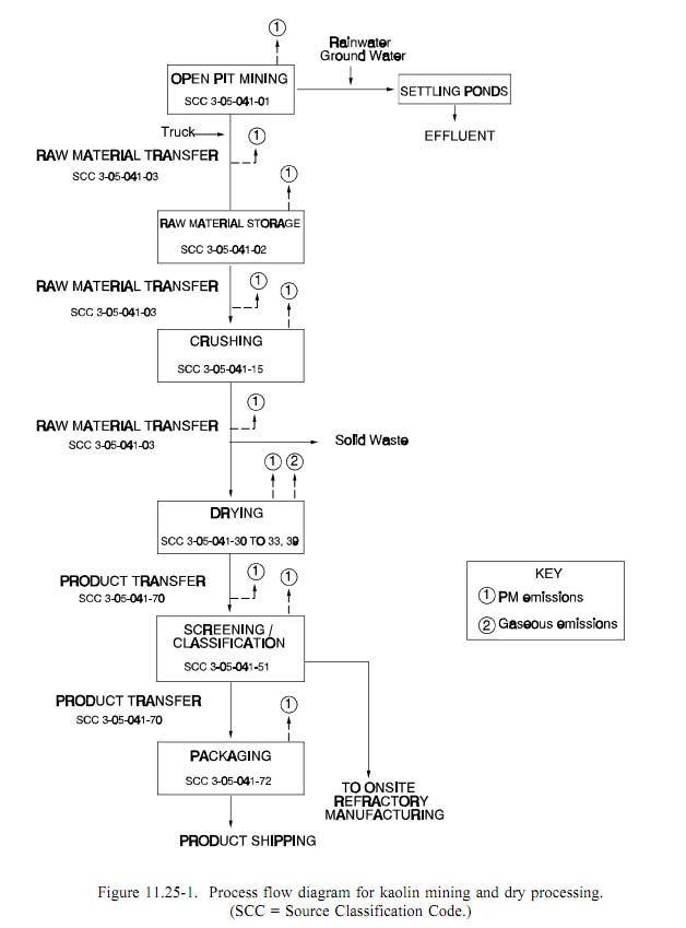
Kaolin is both dry- and wet-processed. The dry process is simpler and produces a lower quality product than the wet process. Dry-processed kaolin is used mainly in the rubber industry, and to a lesser extent, for paper filling and to produce fiberglass and sanitary ware. Wet-processed kaolin is used extensively in the paper manufacturing industry. A process flow diagram for kaolin mining and dry processing is presented in Figure 11.25-1, and Figure 11.25-2 illustrates the wet processing of kaolin.

 

In the dry process, the raw material is crushed to the desired size, dried in rotary dryers, pulverized and air-floated to remove most of the coarse grit. Wet processing of kaolin begins with blunging to produce a slurry, which then is fractionated into coarse and fine fractions using centrifuges, hydrocyclones, or hydroseparators. At this step in the process, various chemical methods, such as bleaching, and physical and magnetic methods, may be used to refine the material. Chemical processing includes leaching with sulfuric acid, followed by the addition of a strong reducing agent such as hydrosulfite. Before drying, the slurry is filtered and dewatered by means of a filter press, centrifuge, rotary vacuum filter, or tube filter. The filtered dewatered slurry material may be shipped or further processed by drying in apron, rotary, or spray dryers. Following the drying step, the kaolin may be calcined for use as filler or refractory material. Multiple hearth furnaces are most often used to calcine kaolin. Flash and rotary calciners also are used.

Kaolin processing plant machinery

SBM is a high-technology engineering group with world-leading positions in mining and construction area. We are products have been exported over 160 countries. SBM provide stone crushers,ball mill, vibrating screen and others mining machinery for kaolin process.

 

SBM Mining and Construction serves a broad range of customers in construction, mineral exploration, mining and bulk materials handling. Our construction expertise covers quarrying, demolition and recycling, and other civil engineering applications. Our mining products and services support customers on the surface and under ground, in all mineral, coal and metal mining applications from exploration to ore transportation.