



-
Grinding Mill
- Ball mill
- Raymond Mill
- MTM Trapezium Mill
- SCM Ultrafine mill
- MXB Powder Mill
- MTW Powder Mill
- Vertical Coal Mill
- High Pressure Mill
- Efficient Crushing-type Mills
- T130 Ultrafine Mill


Iron ore Mining Processing
Iron ore crushing is actually the preparation process that are needed for decreasing the size of iron ores during all iron ore processing technology ....
Limestone Quarry Plant
In the limestone crushing plant, there are hammer crusher and impact crusher for big abridgement ratio ...For the limestone grinding equipment, Ball mill,raymond mill is common.
Copper Beneficiation Processing
In copper ore processing plant, crushing process is the important process. In this copper ore crushing plant, several crusher machines are used ...
- Stone Crushing Plant With Capacity 40-60 TPH
- Stone Crushing Plant With Capacity 100-120 TPH
- Stone Crushing Plant With Capacity 150-180 TPH
- Stone Crushing Plant With Capacity 200-250 TPH
- Stone Crushing Plant With Capacity 300-350 TPH
- Stone Crushing Plant With Capacity 350-400 TPH
- Stone Crushing Plant With Capacity 500-600 TPH
- Stone Crushing Plant With Capacity 600-800 TPH
- Stone Crushing Plant With Capacity 800-1000 TPH
Cement production line in India
Delta Industrial Supplies Pvt Ltd plans to build a 3300 MT Cement factory for Middle east on which SBM is providing the complete set of cement machinery and equipment ...
Coal mining processing plant in Nigeria
This coal mining project is an open pit mine located in Nigeria, announced by mining company - Western Goldfields - that it has discovered 62,400,000 tonnes of proven reserves of coal deposits worth US$1.2 billion which could be used for the generation of electric power...
Panama portable crushing project
Material type: Capa base Max. diameter: 450mm Moh’s hardness: 4-6 Designing production: 200TPH ...
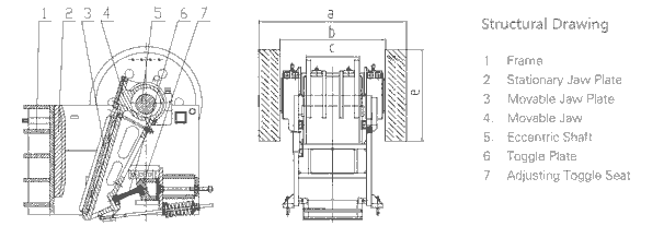
PEW Series Jaw Crusher
PEW Series Jaw Crusher Introduction
Nowadays, the PEW Jaw Crusher in European style undoubtedly becomes the most welcome products in the world.
When you want to crush the hard materials in high efficiency, the best choice for you is the PEW series of jaw crushers in European style, which adopts the most advanced international crushing technology as well as the world-class skills in making.
Online Chat For Product Information And Price.

PEW series of jaw crushers in European style
Characteristics of the PEW Series of Jaw Crushers:
1, World-class skills in making are adopted and the use of high-tech materials.
2, More advanced movable jaw assembly makes it more long-lasting.
Movable jaw assembly adopts a high-quality steel casting, and moves through two large cast steel flywheel drive. In addition, heavy eccentric shaft has also adopted forging billet for processing. All those make the PEW series of jaw crushers with exceptional reliability.
3, Integrated Cast Steel Structure Adopted in Axle Bearing housing.
Integrated cast steel structured axle bearing housing can guarantee to be perfectly cooperating with the crushing frame. Meanwhile, it greatly enhances the intensity of the axle bearing, which could not be performed in the separated styled axle bearing.
4, Use of finite element analysis technology makes the crusher with high intensity.
5, Summarized structure “V” adopted in the crushing cavity makes the actual feed mouth width equal to the set width of the feeding opening.
6, More quickly and convenient adjustment at the discharging opening.
European styled PEW series of Jaw Crushers are equipped with wedge adjustment devices, which is simpler, safer and faster than former gasket devices.
7, Chosen bearings are larger with better carrying capacity.
Compared with the same specification of crushers, all PEW series of jaw crushers are equipped with greater and more durable eccentric shaft bearings. The better carrying capacity and the more effective labyrinth seal greatly extend the service life of the bearings.
8, the newly-adopted tooth-boards have greatly increased the effective length of the jaw, resulting in larger yield.
PEW Series of Jaw Crushers Application:
1, This series of crushers are mainly used for metallurgical, mining, chemical, cement, construction, fireproof materials and ceramics and other industrial sector in secondary and tertiary crushing, dealing with various hard minerals and rocks.
2, The most suitable anti-pressure strength for this series of crushers are the materials(minerals, rocks, slag) no more than 280Mpa. The feeding size of the materials should be no larger than the specification in the technical parameter.
- Working Principle
- Specifications
- Inquiry








